Şirket Logosu
Sağ Logo
Ankasan Sensör Teknolojileri – AD.M32.NPT3/4.SS.C.15.K01 400944 Ürün Detayı

Pepperl Fuchs > Tehlikeli Alan Ürünleri ve Çözümleri > Muhafazalar ve Kablo Rakorları > Kablo Rakorları ve Aksesuarlar (Ex d, Ex e, Ex i)

AD.M32.NPT3/4.SS.C.15.K01 - 400944

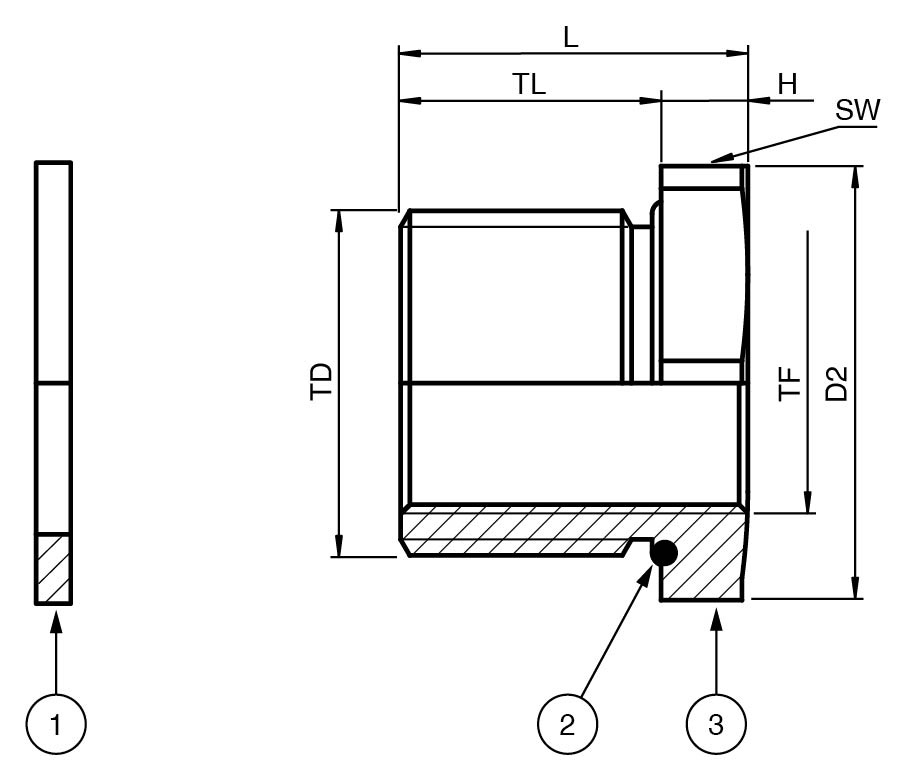
Adaptör

Öne Çıkan Özellikler

Adapter male thread metric to female thread NPT

Stainless Steel

Thread M32

Thread NPT 3/4''

Seal chloroprene

Ex db, Ex eb and Ex tb certified

Suitable for operation in Zone 1, Zone 2, Zone 21 and Zone 22

Packaging unit: 1 piece, kit with Aksesuarlar

📄 Datasheet İndir 💬 Teklif Al

WhatsApp
Ankasan
Çevrimiçi

Merhaba 👋
Size nasıl yardımcı olabiliriz?